Nintendo SWITCH 2 : pourra-t-on fixer un smartphone en guise de second écran ?
Le retour de la Nintendo SWITCH U
En attendant la présentation de la Nintendo SWITCH 2 lors du Nintendo Direct spécial, le mois prochain, les spéculations vont bon train.
Alors que la console s'est enfin dévoilée avec un court trailer, beaucoup de joueurs se posent encore beaucoup de questions. La Nintendo SWITCH 2 est-elle une simple Nintendo Switch plus puissante ou Nintendo nous réserve-t-il encore quelques surprises ?
On sait déjà que la future console proposera de nouveaux Joy-Con pouvant être utilisés comme souris et il se pourrait aussi qu'on puisse les fixer de n'importe quel côté, en retournant la console...
Une fonction "renversante" (non confirmée) dont on ne voit pas trop, pour le moment, l'intérêt... Cela aurait-il un rapport avec le fait que la console dispose désormais de deux connecteurs USB-C (dont un, non centré) ?
Les fans ont déjà fait des propositions à ce sujet, imaginant notamment des accessoires supplémentaires, comme une caméra ou, pourquoi pas, un second écran...
Cela paraît plutôt improbable mais il faut se rappeler qu'en 2023, Nintendo a publié un brevet pour une console à deux écrans détachables (voir ici).
Alors, la Nintendo SWITCH 2 pourrait-elle renouer avec l'esprit de la Wii U et de la NDS/3DS ?
Mais dans ce cas, ou trouver ce second écran ? Dans ton Q ? On parle évidemment de la 17ème lettre de l'alphabet.
Nintendo a souvent mis en avant qu'au fil du temps, beaucoup de possesseurs de (la première) Nintendo Switch, en avait acheté plusieurs... Cependant, devoir acheter deux Switch ne serait pas donné à tout le monde et encore moins dans les premiers mois (voir dans les premières années) de vie de la console.
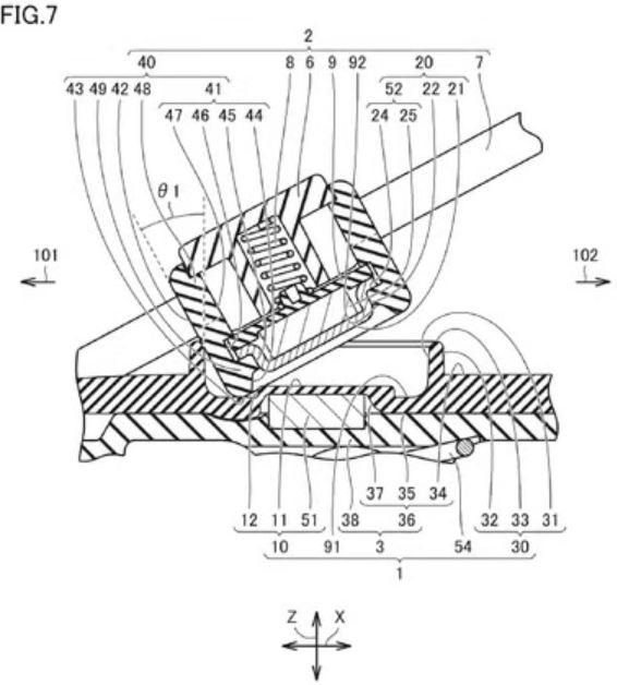
Mais il y a peut-être une autre solution... Si on en croit un autre brevet déniché par Game Rant, Nintendo aurait déposé un brevet de support pour téléphone portable !
En fait, il s'agirait d'une sorte de pince avec une cavité centrale permettant de fixer et de faire pivoter un support autour d'un point de connexion magnétique.
On pourrait spécifiquement y placer un smartphone (dans n'importe quel sens) mais le support serait modulable et on pourrait s'en servir pour fixer différents accessoires et même des matériaux souples comme du tissu...
Alors attention, le Brevet Nintendo ne mentionne pas explicitement la Nintendo SWITCH 2 et Nintendo, comme d'autres, a tendance à collectionner les brevets dont beaucoup ne sont jamais utilisés.
Pour autant, l'idée de coupler un smartphone à la Nintendo SWITCH 2 n'est pas dénuée de sens car aujourd'hui tout le monde, ou presque, possède un smartphone.
Cela permettrait d'avoir un deuxième écran tactile très facilement pour afficher du contenu supplémentaire (carte, inventaire, etc) ou encore pour jouer aux anciens jeux Wii U, NDS et 3DS. Par ailleurs, cela permettrait aussi d'avoir accès aux objectifs avant et arrière du smartphone sans que le possesseur de la console ne soit forcé d'acheter une caméra.
Alors, la "Nintendo Switch 2 écrans" est-elle un fantasme ou une réalité ? Et, d'ailleurs, est-ce souhaitable ?
Le succès de la Nintendo Switch tient autant à son aspect hybride qu'à sa simplicité d'utilisation et à son côté universel à même de plaire à tous.
La première Switch est à la fois une "console Nintendo" avec ses gadgets ludiques et ses spécificités mais aussi une console comme une autre permettant de jouer comme on joue sur les autres consoles.
Avec trop de gadgets et d'accessoires, Nintendo pourrait retomber dans les travers de la Wii et de la Wii U et finalement exclure et perdre une partie de ses joueurs...
Evidemment, les jeux qui seront annoncés lors du Nintendo Direct du 2 avril 2025 seront eux aussi déterminants.
Alors, encore un peu de patience et on sera fixé.
En attendant d'en apprendre plus officiellement, comme toujours, n'hésitez pas à nous dire ce que vous en pensez en commentaires.
LIRE AUSSI : NE MANQUEZ PAS LE NINTENDO DIRECT SPECIAL SWITCH 2 - TOUS LES DETAILS
Et toujours :
- NINTENDO PRESENTE OFFICIELLEMENT LA NINTENDO SWITCH 2
- NS2 : la rétrocompatibilité physique et numérique confirmée
- Switch 2 : les première images du nouveau Mario Kart
- Une date pour le Nintendo Direct dévoilant les jeux SWITCH 2
- Nintendo serait "très très très en colère" suite aux fuites et rumeurs concernant la Nintendo SWITCH 2
- Nintendo a-t-il déjà gagné la prochaine "guerre des consoles" avec la SWITCH 2 ?
- Un site dévoile le prix de la NS2 - Le prix pas important pour les premiers acheteurs
- Switch 2 : un prix plus bas qu'attendu ?


