Nintendo a déposé un nouveau brevet de manette qui pourrait annoncer l'arrivée des jeux Game Boy et GBA sur Nintendo Switch
En décembre dernier, Nintendo a déposé le brevet (publié en janvier 2022) d'une manette à priori toute simple... Repéré par un utilisateur de Twitter, ce brevet a depuis rapidement fait le tour du net, suscitant pas mal d'interrogations. Quelle est la nécessité de publier le brevet de cette drôle de manette ? On le sait, Nintendo, comme d'autres a tendance à breveter la moindre idée susceptible plus tard de lui servir même si finalement, ça ne lui servira jamais. Le truc, ici, c'est qu'on arrive pas bien à comprendre ce que c'est... Pour certains, il s'agit d'un brevet concernant une manette pour la prochaine console de Nintendo (dont on ne doit plus prononcer le nom.) D'autres pensent qu'il concerne la batterie présente dans la manette N64 de la Nintendo Switch- d'autant plus que le haut de la manette ressemble à celle du contrôleur de la N64; d'autres encore pensent qu'il s'agit d'une nouvelle manette centrée sur les jeux Game Boy et Game Boy Advance- qui pourraient donc finir par arriver sur Nintendo Switch comme des rumeurs l'avaient affirmé l'année dernière. Il est vrai que Nintendo aime bien sortir des manettes dédiées pour les jeux rétro de la Nintendo Switch. Si vous voulez vous faire votre propre avis, retrouvez des images et la traduction de la description de la manette ci-dessous. Vous pouvez en outre retrouver le brevet complet ici.
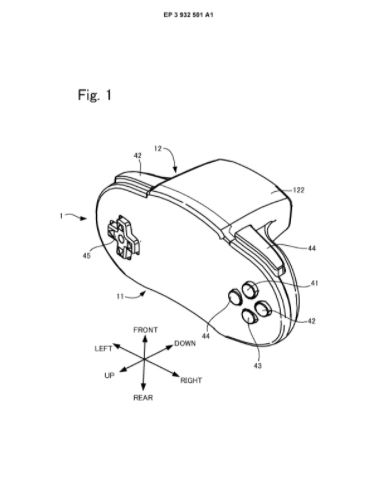
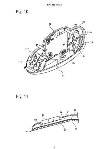
Une manette de jeu selon la présente invention comprend : un boîtier ; et un corps structurel interne logé à l'intérieur du logement. Le corps structurel interne comprend au moins : un cadre interne ayant une surface d'installation et un évidement adjacent à la surface d'installation ; une batterie qui est logée dans l'évidement du cadre interne et a une première surface qui s'oppose à une surface inférieure de l'évidement et une seconde surface sur un côté opposé à celui de la première surface ; et un substrat flexible qui est installé sur la surface d'installation du cadre interne et comprend un motif conducteur. Le substrat souple est agencé de manière à recouvrir au moins une partie de la seconde surface de la batterie logée dans l'évidement.
Lire aussi :
- La bibliothèque de jeux Game Boy et Game Boy Color pourrait débarquer sur Nintendo Switch
- Les jeux Game Boy et Game Boy Color pourraient être ajoutés à l'abonnement actuel du NSO
- Voilà à quoi pourrait ressembler l'application Game Boy sur Nintendo Switch
- Voilà à quoi pourrait ressembler les jeux Game Boy Advance sur Nintendo Switch
- En plus des jeux Game Boy et Game Boy Color, d'autres plateformes rétro pourraient arriver sur Nintendo Switch
- Le Game Boy ou la folle histoire des consoles portables
Rejoignez la communauté de Nintendo-Master.com sur nos réseaux sociaux : Twitter, Facebook et Youtube

WTF! I just found this patent made by Nintendo in January. Switch Pro Controller!? pic.twitter.com/jTV3fav0bY
— SillyTweet5 ???????????????????????????????????? (@SillyTweet5) March 14, 2022

