Divers
Un coup d’œil sur un nouveau brevet de Nintendo
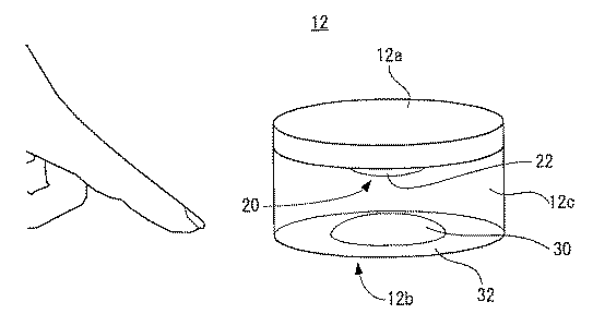
Comme cela arrive de temps en temps, on découvre aujourd'hui un brevet déposé par Nintendo il y a plusieurs années mais publié hier. Cette fois-ci, il s'agit d'un dispositif un peu compliqué à expliquer et même à comprendre. Il s'agit d'un dispositif de détection d'objets qui utilise des caméras et des miroirs et qui peut à priori servir de contrôleur mais aussi de projecteur. On ne sait pas encore si Nintendo se servira un jour de ce brevet mais s'il vous voulez essayer de comprendre de quoi il s'agit, vous pouvez jeter un œil sur cette page.et sur les images ci-dessous.

