Nintendo Switch
Nintendo dépose le brevet d'un nouveau support de recharge inclinable pour la Nintendo Switch
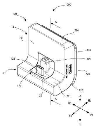
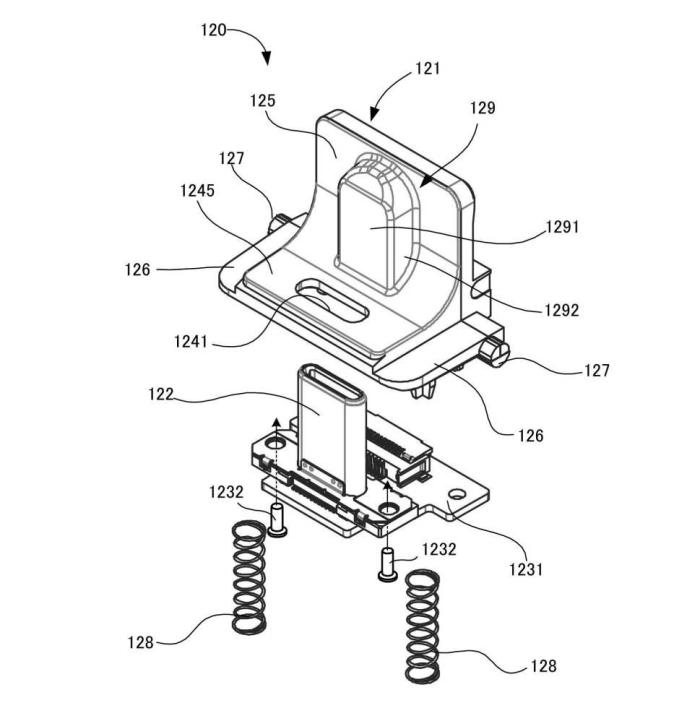
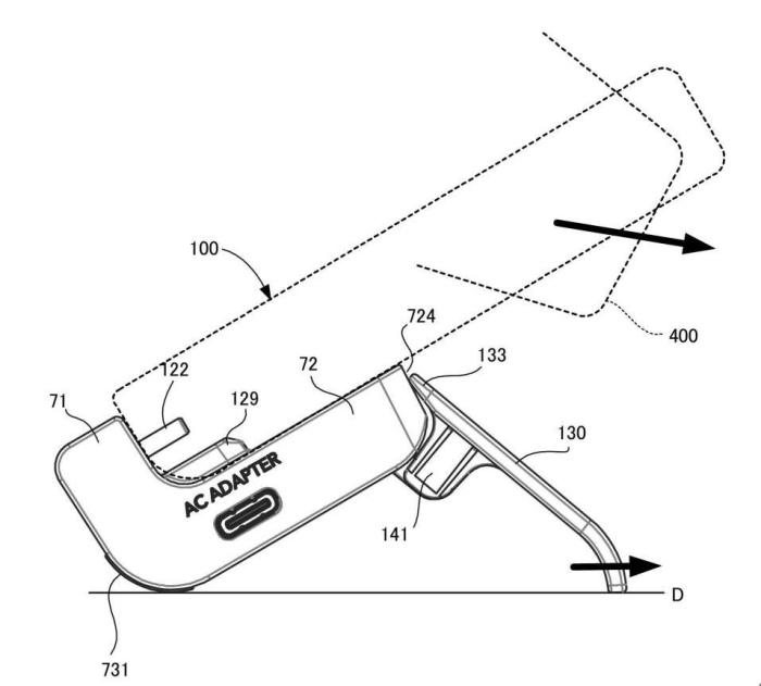
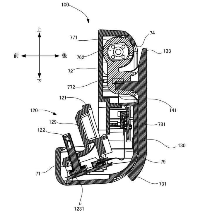
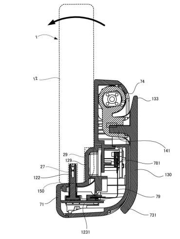
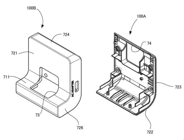
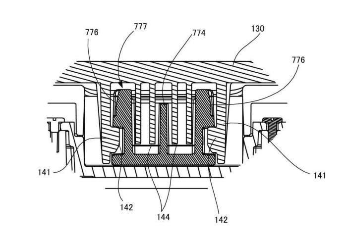
Nintendo a déposé il y a peu le brevet d'un nouveau support de recharge inclinable pour la Nintendo Switch dont la particularité est qu'il est pourvu d'un dispositif d'alimentation à semi-conducteur de façon, à priori, à faire des économies d'énergie. A part ça, le support semble identique à celui qui existe déjà dans le commerce. En attendant d'hypothétiques autres informations, retrouvez quelques croquis du brevet sur cette page.

