Divers
Un coup d'œil sur le brevet d'un téléphone Nintendo
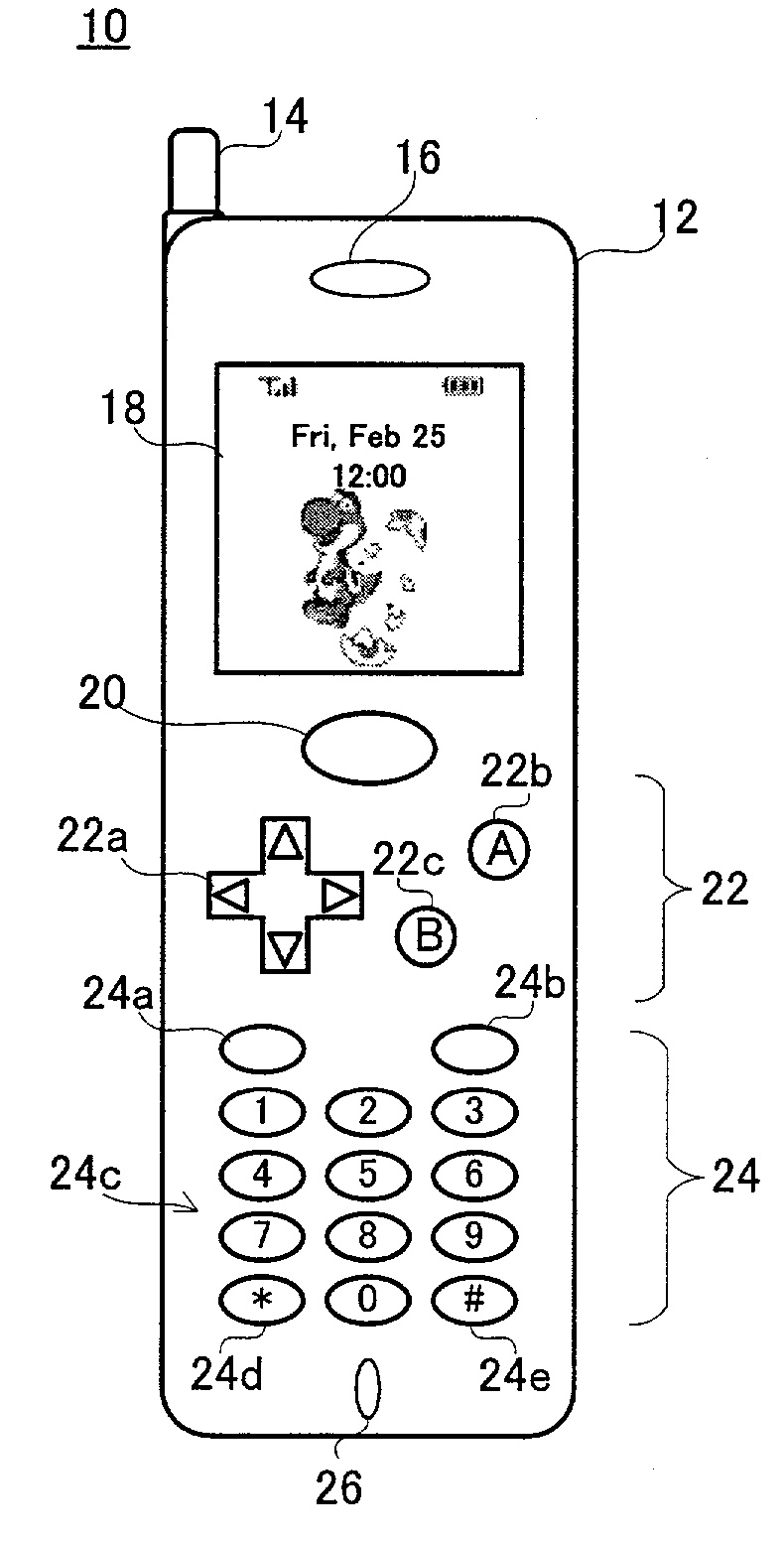
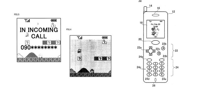
Au cours des dernières années, Nintendo a publié toutes sortes de brevets dont beaucoup n'ont jamais servi (et ne serviront probablement jamais). Mais il est toujours amusant d'y jeter un œil. C'est le cas de ce brevet pour un téléphone portable Nintendo déposé en 2001 (que vous pouvez regarder ici). Le téléphone à l'air assez standard mais avec la possibilité, à priori, d'acheter des jeux et de jouer à... Super Mario. Retrouvez les images de ce brevet ci-dessous.


