
Nintendo se lancerait dans la domotique et la météo ?

Nintendo veut-il analyser le monde ?
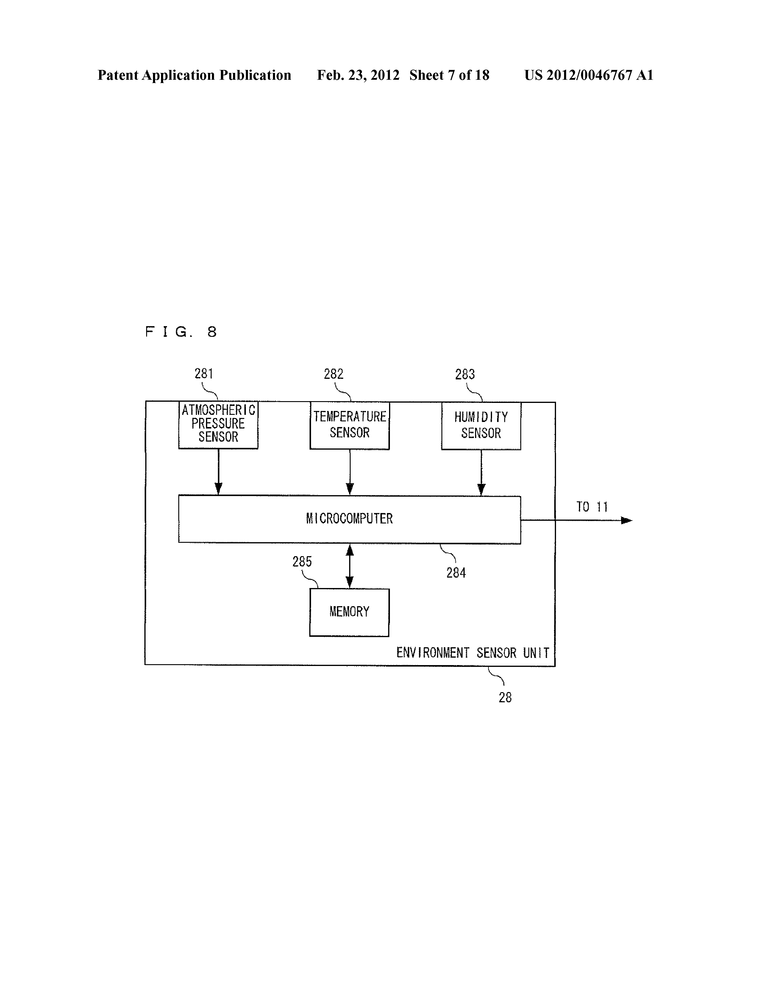
Imaginez des millions de mini-stations météorologiques qui récolteraient des données sur l'humidité, la pression, la température, la lumière... afin de les analyser sur un serveur central. Ces dernières pourraient ensuite générer des conseils sur la manière dont il faudrait s'habiller par rapport à l'endroit où l'on vit, contrôler automatiquement des dispositifs de chauffage ou des climatisations dans plusieurs maisons ou être totalement intégrées dans un MMORPG reconstituant une version virtuelle de notre monde en temps réel.
Et bien, ce sont les idées que laissent sous-entendre un étrange brevet de Nintendo rendu public ce mois mais déposé en août 2011 au USA ainsi qu’au Japon. On ne connait pas la console visée par ces capteurs environnementaux et il se peut également que nous voyons un tel projet tomber dans l'oubli. BigN songerait-il à s'attaquer au réchauffement climatique en sensibilisant les familles et surtout les enfants ?
Finalement, ce n'est peut-être qu'une technique de diversion ciblant ses concurrents ?